Diffeo (company)
Diffeo (/dɪfˈiːoʊ/ dif-E-oh) is a software company that developed a collaborative intelligence text mining product for defense, intelligence and financial services customers.
![]() | |
| Type | Acquired by Salesforce.com |
|---|---|
| Industry | Software |
| Founded | 2012 |
| Founders | John R. Frank, Daniel A. Roberts, Max Kleiman-Weiner, Jason Briggs, Emily Pavlini, Aaron Taylor |
| Headquarters | Cambridge, Massachusetts, U.S. |
Key people | Andrew Gallant, Tom DuBois, Geof Milstein, Cogan Culver, Keith Gabryelski |
| Products | collaborative machine intelligence |
| Website | diffeo |
The Diffeo product is a recommender engine that analyzes text in a user's working documents, such as draft emails and web pages, identifying named entities and proposing related entities.[1][2]
Diffeo was founded in 2012 and was acquired by Salesforce in 2019.[3] The company grew out of NIST's Text Retrieval Conference where the founding team organized the Knowledge Base Acceleration (KBA) evaluation to measure the effectiveness of recommender engines.[4]
History
Founding
The company was founded by three Hertz Fellows,[5] Dan Roberts,[6][7] Max Kleiman-Weiner,[8][9] and John Frank,[10][11] a co-founder of MetaCarta.[12] The name Diffeo comes from a shortening of diffeomorphism, which two of the cofounders were learning about in a class about blackholes by Andrew Strominger.[13] Diffeo was one of the first residents in hack/reduce.[13]
Funding
In 2016, the company raised a seed round of approximately two million dollars[14] from investors including Basis Technology[15] and Carahsoft. Also in 2016, Diffeo acquired Meta, a search engine company founded by Jason Briggs, Emily Pavlini, and Aaron Taylor through a business plan competition at Williams College.[16][17]

Research
Diffeo's research focused on recommender engines and evaluation protocols for measuring the benefits of recommender engines for end users.[18][19] As part of running the Knowledge Base Acceleration (KBA) track in NIST's Text Retrieval Conference from 2012 to 2014,[18] the co-founders of Diffeo released a public dataset of timestamped news and blogs spanning approximately 12,000 hours.[4] The KBA track aimed to measure approaches to accelerating the assimilation of knowledge into knowledge bases like Wikipedia.[18]
The company's researchers published papers and open source code on machine learning techniques including Jacobian regularization,[20] singular spectrum analysis,[21] and hierarchical agglomerative clustering for entity disambiguation.[22][2][23][24]
Post-Acquisition
In 2021, Salesforce announced an AI-powered assistant that helps B2B sales people with their deals. Briggs, who was previously CEO at Diffeo, is the Senior Director of Product Management, and helped in the creation of this AI assistant. This technology comes from Salesforce's acquisition of Diffeo, which also brought them Briggs.[25]


Product & technology
The Diffeo product, Diffeo Enterprise HierCoref (DEHC), is a recommender engine that allows users to "invite" an agent into their work documents in order to identify named entities and recommend related entities that it identifies by crawling the Web and the user's data repositories. For example, the product has plugins that enable it to analyze a user's emails and web pages open in their web browser.[26]
The company's user meetings, called The AI<>Tradecraft Forum, brought together speakers from the information extraction industry and the US Intelligence Community, including NGA, United States Army, AFOSI, and NSA.[27]


Awards
Diffeo won the 2019 MassChallenge FinTech grand prize,[29] was selected into the 2018 FinTech Innovation Lab[30] and was one of 13 companies in the 2017 Salesforce AI Incubator.[31] Diffeo won the Hertz Foundation's 2015 Newman Entrepreneurial Initiative.[32]
The company was also a performer in DARPA's Memex program,[33][34][35] and won the grand prize in the NGA Disparate Data Challenge.[36][37][38][39]
See also
External links
- Official website
- Diffeo on Github.com
- Hierarchical agglomerative clustering library written in Rust: https://github.com/diffeo/kodama
- https://trec-kba.org/
- https://trec-dd.org/
- TREC KBA Streamcorpus at http://s3.amazonaws.com/aws-publicdatasets/trec/kba/index.html
- TREC KBA corpus information at NIST https://trec.nist.gov/data/kba.html
References
- "Never Search Again: Getting AI to Comply Series, Part III". 2018-10-18. Retrieved 2020-11-04.
- "How it works: collaborative intelligence". 2018-05-14. Archived from the original on 2020-11-26.
- Arnold, Stephen (2020-06-30). "Salesforce Acquires Diffeo". ArnoldIT.com. Retrieved 2020-11-04.
- "Knowledge Base Acceleration Track". NIST.gov. 2014-06-30. Retrieved 2020-11-04.
- "About - Diffeo". Archived from the original on 2018-08-30. Retrieved 2018-08-30.
- "Daniel Roberts - Fannie and John Hertz Foundation - Empowering Limitless Progress".
- "Dan Roberts".
- "Max Kleiman-Weiner - Fannie and John Hertz Foundation - Empowering Limitless Progress".
- "Max Kleiman-Weiner".
- "John Frank - Fannie and John Hertz Foundation - Empowering Limitless Progress".
- "Since 2011, the Peter Strauss Award has recognized our most enterprising early career Hertz Fellows". Retrieved 2020-11-04.
- "John R. Frank".
- Kelly, Jeff (2012-11-13). "Hack/reduce Launch - Diffeo's Roberts: Google Has Some Competition". Retrieved 2020-11-04.
- "SEC Form D". 2016-10-07. Retrieved 2020-11-04.
- "Diffeo - Basis Technology". Retrieved 2020-11-04.
- "Diffeo buys Meta search in search discovery tech push" (Press release). 2017-01-10. Retrieved 2020-11-04.
- Martin, Dylan (2017-01-10). "Meta search has a killer product and here's why". Bostinno. Retrieved 2020-11-04.
- Frank, John R.; Kleiman-Weiner, Max; Roberts, Daniel A.; Voorhees, Ellen; Soboroff, Ian (2014-11-01). Evaluating Stream Filtering for Entity Profile Updates in TREC 2012, 2013, and 2014, KBA Track Overview (PDF). NIST Special Publication 500-308: The Twenty-Third Text REtrieval Conference Proceedings (TREC 2014). Retrieved 2020-11-04.
- Yang, Hui; Frank, John; Soboroff, Ian (2015). TREC 2015 Dynamic Domain Track Overview (PDF). NIST Special Publication 500-319: The Twenty-Fourth Text REtrieval Conference Proceedings (TREC 2015).
- Hoffman, Judy; Roberts, Daniel A.; Yaida, Sho (2019). "Robust Learning with Jacobian Regularization". arXiv:1908.02729 [stat.ML].
- Dirie, Abdi-Hakin; Abid, Abubakar; Zou, James (2019). "Contrastive Multivariate Singular Spectrum Analysis" (PDF). 2019 57th Annual Allerton Conference on Communication, Control, and Computing (Allerton). pp. 1122–1127. arXiv:1810.13317. doi:10.1109/ALLERTON.2019.8919886. ISBN 978-1-7281-3151-1. S2CID 53074935.
- "GitHub - diffeo/kodama: Fast hierarchical agglomerative clustering in Rust". GitHub. Archived from the original on 2020-11-26.
- "Collaborative Intelligence: Diffeo Product Overview". 2018-10-22. Archived from the original on 2020-11-26.
- Kleiman-Weiner, Max (2015-06-19). Machine-in-the-loop for Knowledge Discovery (PDF). 2015 Open Data Science Conference (ODSC). Boston, Massachusetts. Archived from the original (PDF) on 2020-12-02.
- "Salesforce launches AI-powered relationship research as part of its B2B industry pitch". diginomica.com. 2021-06-09. Retrieved 2021-11-22.
- "Accelerate discovery with Diffeo's AI-powered research assistant" (PDF). 2018-07-19. Archived from the original on 2020-11-18. Retrieved 2020-11-04.
- "AI <> Tradecraft Forum". 2019-03-19. Archived from the original on 2020-11-18. Retrieved 2020-11-04.
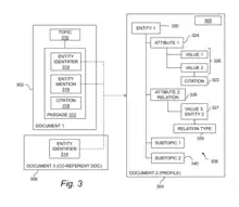
- US 9275132, Roberts, Daniel; Kleiman-Weiner, Max & Frank, John et al., "Entity-centric Knowledge Discovery", issued 2016-03-11
- "MassChallenge FinTech Announces $200K to Top Startups in Inaugural Program". MassChallenge.org. 2019-06-25. Retrieved 2020-11-04.
- "2018 FinTech Innovation Lab Demo Day". 2018-06-25. Retrieved 2020-11-04.
- "Meet the Startups, Introducing the 13 startups of the Salesforce Incubator Batch". Salesforce AppExchange on Medium.com. 2017-04-25. Retrieved 2020-11-04.
- Hertz Foundation (2015-12-21). "The Newman Entrepreneurial Initiative" (Press release).
- Brewster, Thomas (2015-04-17). "DARPA, NASA, and partners show off Memex". Forbes. Retrieved 2020-11-04.
- "DARPA Google Killer Builder available to public". 2015-04-17. Retrieved 2020-11-04.
- "DARPA Memex: how it works and what it's up to really". 2015-09-20. Retrieved 2020-11-04.
- "Disparate Data Challenge". challenge.gov. 2016-09-19. Retrieved 2020-11-04.
- "NGA Awards $50k to Disparate Data Challenge Winners". Intelligence Community News. 2016-11-07. Retrieved 2020-11-04.
- "Diffeo wins grand prize in NGA's Disparate Data Challenge" (Press release). newswire.com. 2016-10-27. Retrieved 2020-11-04.
- "Diffeo, A Winning Data Fusion Solution". 2016-11-09. Retrieved 2020-11-04.
